Telko.id – Samsung dikabarkan akan meluncurkan smartphone lipat tiga pertamanya tahun ini, dengan nama Galaxy Z TriFold.
Paten terbaru yang terungkap mengungkapkan perangkat ini akan dilengkapi tiga baterai terpisah, masing-masing di segmen berbeda pada bodinya.
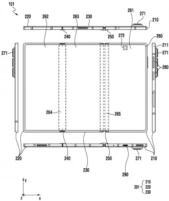
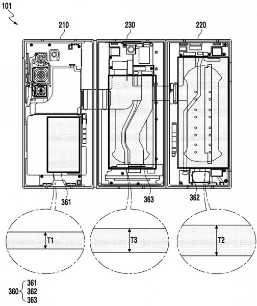
Dokumen paten yang diterbitkan oleh KIPRIS menunjukkan konfigurasi baterai unik untuk smartphone tri-fold Samsung.
Setiap dari tiga segmen perangkat memiliki sel baterai sendiri-sendiri. Sketsa dalam dokumen paten memperlihatkan baterai terkecil (T1) berada di segmen yang menampung kamera triple belakang.

Baterai terbesar (T2) ditempatkan di segmen tengah yang akan terjepit antara dua segmen lainnya ketika perangkat dalam keadaan tertutup. Sementara baterai berukuran sedang (T3) berada di segmen yang memiliki layar cover.
Meski dokumen paten mengungkap konfigurasi tiga baterai, kapasitas total maupun individual masing-masing baterai belum diungkap. Demikian pula dengan kecepatan pengisian daya yang akan disematkan.
Pengamat berharap Galaxy Z TriFold akan memiliki kapasitas baterai dan dukungan charging yang lebih baik dibanding Galaxy Z Fold7. Model sebelumnya hanya membawa baterai 4.400 mAh dengan dukungan pengisian daya kabel 25W.
Rencana Samsung meluncurkan ponsel lipat tiga kali ini sejalan dengan persiapan peluncuran ponsel lipat tiga akhir tahun ini yang sebelumnya telah dikonfirmasi oleh perusahaan.

Baca Juga:
Sebelumnya beredar kabar bahwa Galaxy Z TriFold akan menjadi eksklusif untuk pasar Korea Selatan dan China. Namun informasi terbaru menyebutkan smartphone ini kemungkinan juga akan diluncurkan di Amerika Serikat.
Rumor terkini mengindikasikan peluncuran Galaxy Z TriFold akan dilakukan pada akhir bulan ini. Waktu peluncuran ini bersamaan dengan rencana Samsung memperkenalkan headset Android XR pertamanya yang berkode nama Project Moohan.
Untuk headset XR tersebut, pre-registrasi di Korea Selatan disebut akan dimulai 15 Oktober dan berlangsung hingga 21 Oktober. Peluncuran resminya dijadwalkan pada 22 Oktober.
Desain tri-fold Samsung ini sebelumnya juga telah muncul dalam bocoran One UI 8, mengindikasikan persiapan software yang matang untuk mendukung format layar unik ini.
Kehadiran Galaxy Z TriFold akan memperkuat posisi Samsung dalam pasar smartphone lipat yang semakin kompetitif. Beberapa pesaing seperti Huawei juga dikabarkan menyiapkan smartphone tri-fold terbaru mereka dengan berbagai peningkatan performa.
Penggunaan tiga baterai terpisah dalam Galaxy Z TriFold menunjukkan pendekatan teknis yang berbeda dari smartphone lipat konvensional. Konfigurasi ini memungkinkan distribusi berat yang lebih merata dan optimasi ruang dalam desain yang kompleks.
Industri smartphone terus mengembangkan inovasi form factor, dengan smartphone lipat tiga menjadi evolusi berikutnya setelah model lipat ganda.
Samsung sebagai pelopor pasar smartphone lipat tampaknya berkomitmen mempertahankan posisi terdepan dengan menghadirkan teknologi terbaru. (Icha)


